Description
Pick-up Arm:
G-Series Guide block for rail and special application.
Incl. adapter, price per column
Intended use:
Use Pick-up Arms to lift various types of vehicles (e.g. trams and trains) by their chassis.
For use with Stertil-Koni Mobile Column Lift models:
ST 1064 xxG
ST 1075 xxG
ST 1085 xxG
ST 1100 xxG
Warning:
Do not use the Pick-up Arm if the spring clip is missing or damaged.
Notice:
Refer to the type plate of the Pick-up Arm to find its weight. Select the correct lifting tools for installation. Use the lifting eye to lift and install the Pick-up Arm.

To install the Pick-up Arm onto the mobile column vehicle lift:
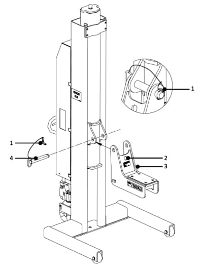
1. Use a lifting tool to lift the Pick-up Arm (3) by the lifting eye (2).
2. Move the Pick-up Arm to the correct position in which the holes line up.
3. Insert the main pin (4). This can be from both the left or right side.
4. Secure the main pin with the spring clip (1).
Loading:
The maximum capacity of the Pick-up Arm is indicated on both sides. It refers to the total allowed load on the pad.


